製品情報
電池用過熱保護素子 サーモプロテクタ ETR
| 製品名 | 電池用過熱保護素子 サーモプロテクタ |
|---|---|
| 型式 | ETR |
| メーカー | 内橋エステック株式会社 |
| メーカーロゴ | ![]() |
| メーカーサイト | メーカー製品サイトはこちら |
概要
電池セルの異常発熱によって回路をパッシブ遮断する温度ヒューズです。
薄型形状で本体感温に優れ、スポット溶接による取付けが可能です。
接点方式のような溶着の心配がありません。
特長
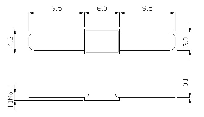
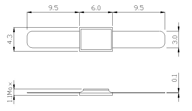
- 厚さ1.1㎜以下
- スポット溶接による取付けが可能なタブリード型
- 低抵抗(vs. PTC、電流ヒューズ)
- 完全鉛フリー品
主な仕様
| タイプNo | 公称動作温度 Tf | 動作温度 ※ | 電気定格 | 抵抗値 | 取得安全規格 |
| ETR | 102℃ | 98±3℃ | DC50V 2A | 19mΩ以下 | UL |
※動作温度とは溶融温度のことです。

その他
採用実績:電池セル(リチウム電池)
